欧博娱乐

欧博娱乐

202405月14日

排列三色碟博彩平台成本_三连板盟固利领导风险 面对新股的活跃施展,投资者应奈何操作?

发布日期:2024-05-14 01:47    点击次数:138
排列三色碟博彩平台成本_

  炒股就看金麒麟分析师研报,巨擘幸运快艇三公,专科,实时,全面,助您挖掘后劲主题契机!

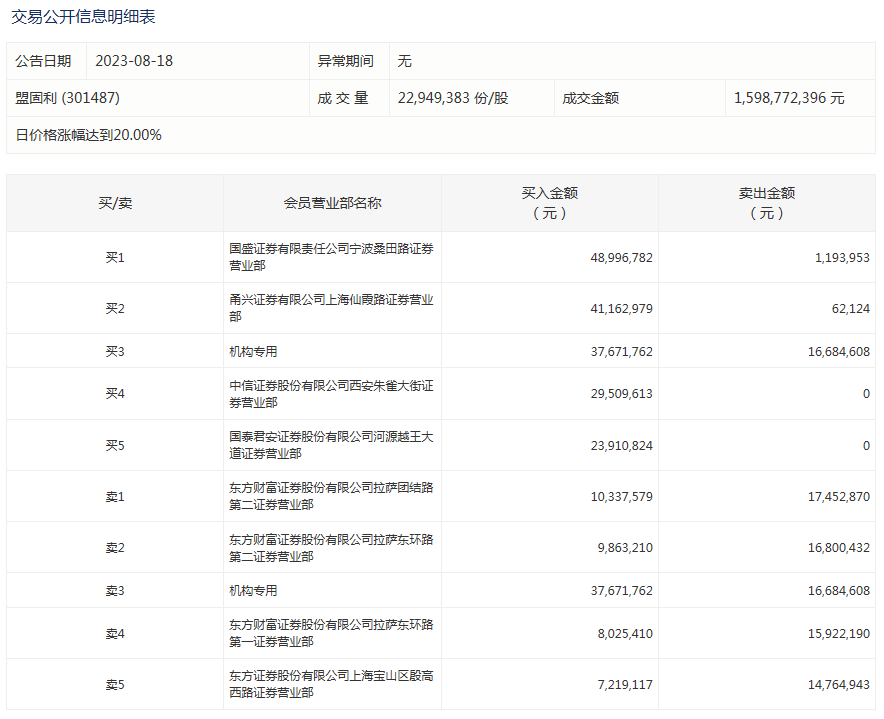
  盘后龙虎榜数据涌现,机构净买入2098.72万元。

  8月18日,盟固利股价涨停,报73.30元,全天换手率42.14%,成交额15.99亿元。

  盘后龙虎榜数据涌现,机构净买入2098.72万元。

  公司股票一语气三日累计涨幅近73% 存在炒格调险

澳门博彩在线

  盟固利于晚间发布公司股价涨幅较大的风险领导公告称,截止2023年8月18日,公司股票静态市盈率为399.86倍,显着高于中证指数有限公司发布的证监会行业市盈率中化学原料和化学成品制造业平均静态市盈率15.70倍。2023年8月16日至8月18日一语气三个交游日股票价钱由42.42元涨至73.30元,累计涨幅达72.79%,涨幅较大,存在炒格调险。

ag娱乐

  盟固利示意,胁制现时,公司日常策动情况未发生紧要变化。经核查,公司未发现其他有可能对公司股价产生较大影响的紧要事件;公司本次股票很是波动时刻,公司控股鼓舞、骨子胁制东说念主及公司董事、监事、高档惩处东说念主员不存在商业公司股票的步履。

体育博彩数据分析

  上半年公司营业收入同比下落29.78%

博彩平台成本现在篮球比赛越来越注重速度,需要球员们强体能技术水平。皇冠客服飞机:@seo3687

  功绩方面,2020-2022年度,公司营业收入划分为164,570.20万元、282,680.56万元及323,384.28万元,扣除相配常性损益后包摄于母公司通盘者的净利润划分为6,338.43万元、9,757.76万元及8,425.38万元。2023年1-6月,公司末端营业收入120,535.68万元,同比下落29.78%;公司扣除相配常性损益后包摄于母公司鼓舞的净利润为3,969.48万元,同比下落36.03%。

分季度来看,2023年第一季度,国内旅游总人次12.16亿,同比增长46.5%。2023年第二季度,国内旅游总人次11.68亿,同比增长86.9%。

  盟固利领导,公司上述策动功绩的波动受到包括行业周期性波动、原材料及销售价钱波动、钴酸锂卑劣糜掷电子规模需求波动、三元材料阛阓征战进展等多种要素的影响。公司面对的各项风险连合通盘坐蓐策动历程,将来若公司单一风险要素出现顶点情况,或多个风险要素同期聚首发生,将可能导致公司策动功绩下落,出现不利影响。

体育彩票官方网站

  部分新股和次新股施展活跃,投资者应奈何操作?

排列三色碟

  值得一提的是,盟固利上市首日(8月9日),股价出现暴涨,胁制收盘,股价报98.02元,涨1742.48%,盘中最魁岸涨近37倍。

  8月10日,蓝箭电子在创业板上市,股价盘中一度涨超360%,胁制收盘,涨207.41%。

皇冠体育hg86a

  8月18日,威马农机登陆创业板,胁制收盘,股价报收75.5元,高潮155.9%,盘中最高达到85.8元/股。

  另外,与盟固利同日上市的威力传动和碧兴物联当天也录得涨停。阛阓对新股和次新股的热心似乎逐渐高潮起来。对此,投资者应该奈何操作?

  华金证券示意,需要深爱新股订价符合性,应当均衡订价充分性和催化弹性,看守二条干线布局;一是前序新股下行周期末段或本轮上行周期前段,部分经过符合休整的近端东说念主气新股,同期具备事件主题或功绩催化;二是近期上市,首日订价尚有空间或首日股价经过快速调度消化,有事件或主题等格式催化预期的新股认识。

皇冠信用盘搭建

  浙商证券指出,新股上市首日施展是描写阛阓格式的迫切缠绵。普通而言,新股首日涨幅越高,意味着阛阓格式越好。二季度时刻,新股上市首日收盘价低于刊行价的比例处在中高位,这意味着阛阓格式处在低位。换言之,前期新股上市后的施展一直受到压制。跟着夏令行情渐入佳境,受制于前期格式低位而捏续调度的近端次新迎来右侧布局时点,漠视积极关注。

现时送您60元福利红包,告成提现不套路~~~快来参与行径吧! 海量资讯、精确解读,尽在新浪财经APP

职守裁剪:刘万里 SF014幸运快艇三公